View Issue Details

IDProjectCategoryView StatusLast Update
0000131vehicle serviceToyota SERApublic2025-09-21 11:04
ReporterDigitalMy 
PrioritynormalSeverityminorReproducibilityN/A
Status assignedResolutionopen 
Summary0000131: Get rare accessories and common parts for Toyota SERA EXY10 stock
DescriptionGet mods:
1. Ski rack /08302-18010 -> delayed
2. Air fantasy /08974-00010 -> no interest any more
3. Mats optional /49527 (5pcs) -> do have another set
4. Custom coil mounting to engine head -> done
Additional InformationGet parts:
S1. Right mirror (external) -> need paint job
S2. Rear wing spoiler -> got, need repair mounting nuts and paint job
S3. Wheel disks (or fix) -> fixed 2018
Tagsトヨタ セラ

Activities

DigitalMy

2017-03-11 21:10

administrator   ~0000486

Last edited: 2025-09-21 11:04

View 33 revisions

A list of parts in stock:
1. front left hub S=25.5mm with wheel bolts {1}
2. front left brake support body and parts + pair L+R
3. front brake disk 16mm (1) + pair (worse condition)
4. front ball joint support (old rusted) {1}
5. front left shaft with 25.5mm hub lock (thread for nut M22) and seal ring + boots /43420-10150 /43420-10280 /43420-10160 /43420-10260 {2}
5.1 front hub shaft nut M22*1.5 {2}
6. front right drive shaft with 25.5mm hub lock with external constant-velocity /43410-10150 /43410-10350 /43410-10160 /43410-10360 {2}
7. Masuma MOS109 exhaust ring {1}
8. H12016JC JapanCars bearing hub front {2}
9. UTC HN3673A alternator brush set {1}

11. Toyota 74233-18010 door arm part
12. Hub front nail 95381-04030 (not rear /90252-04001) and ring 43525-16010 (not rear /43525-20011) and nut 90179-22020 or 90170-19001 (not rear /90170-16137) ( but M24 size ) used
13. End steering nail /95381-03020 and nut /90171-12028 NUT, CASTLE(FOR TIE ROD END) new
14. Front shock absorber rubber enclosure /48331-10090 (?) {2}
15. MOULDING, FRONT DOOR, OUTSIDE LH (код 75731-18010)
16. seal type T oil /90311-80012 (crankshaft left AT side 80*100*8mm)

18. Facet 7.3080 /83420-16020 cooling liquid temperature sensor "gage water" (front thermostat cover)
19. Musashi oil seal T1173 /90311-35013 use on cam.shaft and crankshaft (engine right side 35*49*6mm) -> 1 compatible seal (5E engine right side) /90311-35040 (2pcs are there in 5E) -> reserved
20. Febest TSD-001 dust for suspension support front absorber /90303-22049 {2}
21. stabilizer bush /48815-10090 secondary SAT ST4881510090 {2}
21.1. stabilizer bracket /48824-20040 {2}
22. /90430-12005 gasket filter fuel {2} + o-ring for injector {2}
23. Payen NJ705 + Payen NJ704 shaft seals
24. /90430-10074 brake support washer
25. Bosch 1987302208 1.2W 12V bulb
26. Krauf AHN0371 alternator carbon brush
27. Philips 12598 CP 1.2w bulb {2} + Philips 12597 CP {2}

29. 58510D Carpet Assy, Floor, Front BLUE GRAY,TRIM1# 58510-18010-03
30. 47775 BOOT, BUSH DUST(FOR FRONT DISC BRAKE) brake support guide rubber dist cover /47775-32010 {2}
31. headlamp H1 cover Koito /99226-63008
32. headlamp H1 socket Koito /90075-43103
33. SEAL, DUST(FOR TIE ROD END) /45479-22011 {1}
34. CLIP, NO.1(FOR COWL SIDE TRIM) /90468-25003 {2}
35. windshield nozzle /85381-30020 {3} + JOINT, WINDSHIELD WASHER HOSE, NO.1 /85355-20200 {1}
36. hood support cushion bumper /90541-15010 {1}
37. Alternator back bearing WAI 1020214W {1}

39. Selector assembly, transmission control
40. Brake pedal
41. Accelerate pedal
42. 12321-11100 Bracket, Engine Mounting, Rear ATM
43. front arm silent block bracket /48652-10020 {2}
43.1. bolt for front lower arm bracket W=19 /90105-12061 {2}

Out:
10. FA1 773901 rubber hanging part exhaust 81299 420159 {2} -> used 2024
17. oil pressure sensor Facet 7.0035 /83530-30080 SWITCH ASSY, OIL PRESSURE (FOR ENGINE) -> used 2020
28. timing belt guide /13566-11020 (located right side on crankshaft) -> used 2024
38. Febest TSB-RZJ120R rear stabilizer bush D19 /48815-10090 BUSH, FRONT STABILIZER BAR, NO.1 -> used 2021 (replaced)

DigitalMy

2018-02-12 18:48

administrator   ~0000622

Last edited: 2018-02-15 17:10

View 8 revisions

Original books, repair manuals from Toyota E-EXY10?


???? 1990 (Wiring diagram collection)
????/??? 1992 (Wiring drawing / Supplement edition) 67403
??? 1990 (Repair manual)
???/??? 1992 (Repair manual / Supplement edition)
?????? 1990 (New model car manual)
?????? 1990 (Body repair manual)
???????????? (Car parts catalog)
??? A240L 241L 242L ??????????????? ??? (Automatic transaxle repair manual) /63211
Toyota automatic transaxle A242L repaur manual 1994 RM431U

DigitalMy

2018-02-12 21:48

administrator  

parts_1990-07.jpg (38,551 bytes)
parts_1990-07.jpg (38,551 bytes)

DigitalMy

2019-02-13 11:00

administrator   ~0000745

Last edited: 2019-03-10 21:50

View 2 revisions

Get ESM (electronic service manual) CD

Toyota usually published PDF in
FSM (factory service manual)

DigitalMy

2024-08-14 09:21

administrator   ~0014320

Last edited: 2025-09-18 02:06

View 4 revisions

Get for stock:
G39. oil pump seal 5E (different from shaft seal) /90029-21020
G40. axle nut cap /43525-20030 for M22 nut

DigitalMy

2024-08-15 03:31

administrator   ~0014323

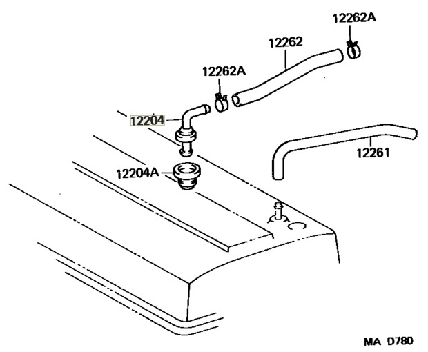
Get for test:
G01. valve for ventilation engine top cam cover
/12204-10030
/12204-11040

ventilation_cam_.jpg (40,003 bytes)
ventilation_cam_.jpg (40,003 bytes)

DigitalMy

2024-08-24 17:47

administrator   ~0014341

Used parts stock (disassembled car):
U01. 2-pin light sensor /88625-18010 077450-0502

DigitalMy

2025-09-07 12:26

administrator   ~0014495

Got special tool for repair works:
Cylinder head (5E) bolt bit is FORCE 348100095 spline d=9.5mm L=100mm

FORCE_348100095.jpg (78,029 bytes)
FORCE_348100095.jpg (78,029 bytes)